共计 502 个字符,预计需要花费 2 分钟才能阅读完成。
提醒:本文最后更新于 2022-08-31 13:18,文中所关联的信息可能已发生改变,请知悉!
前言
全新版本的七彩云 API 上线有几天了,这两天完善了一下,由原来的纯 PHP+HTML,转换成 PHP+HTML+MySQL。由原来的纯前台转换成半前台 + 后台。
七彩云 API 首页大部分借鉴了韩小韩博客的 API 首页,后台借鉴了彩虹云任务授权平台的后台,在此郑重感谢,如有侵权,联系修改
七彩云 API 目前仍不是很完善,后台添加 API 仅能显示在首页,内页 API 接口文件及说明页文件仍需手动上传,如有可能,后续会更加完善,实现完全后台操作。
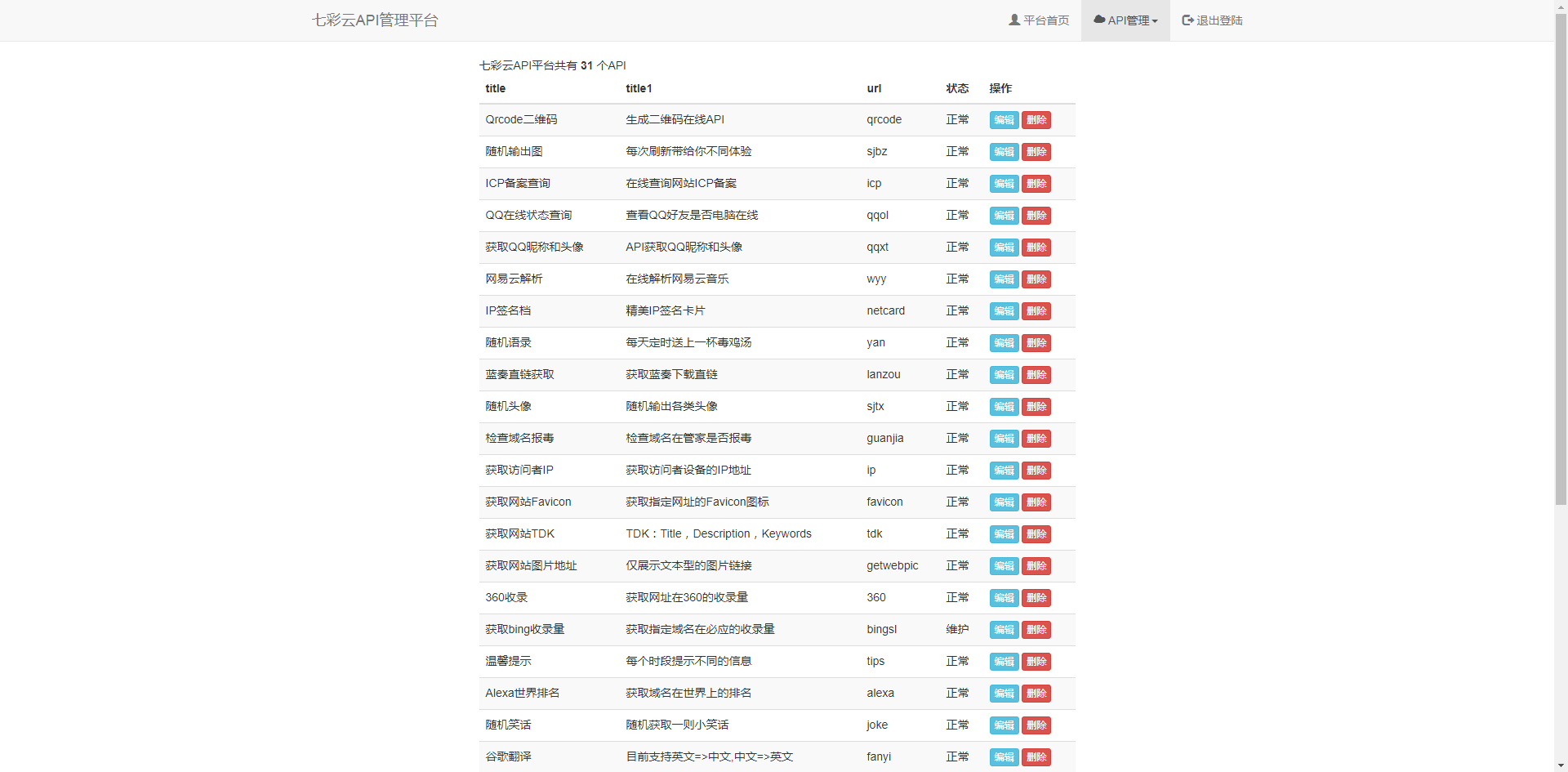
后台截图
前台截图
介绍
七彩云 API 添加了一个检测机制:当请求次数达到 [10 次 / 秒] 将自动触发拉黑机制,如果您需求较大请与本站联系将您的 IP 添加到白名单!
七彩云 API 添加了一个统计显示功能[见七彩云 API 首页底部]:不依赖任何统计平台(如 cnzz,51la 等),完全是一个原创的统计功能,使用 AJAX 实时刷新调用次数。
如上图所示,后台可以添加 API,编辑 API,删除 API,搜索 API,条件允许下,后续会添加更多更人性化的功能。
如果你对此套程序感兴趣,可以与本站联系。
目前该程序存在很多 BUG 及逻辑错误,暂不对外出售,近期正在对大部分代码进行重写,至于什么时候正式上线,请关注本页~
正文完






